本篇文章內容由[中國幕墻網]編輯部整理發布:
加大中空玻璃空氣層寬度。
采用雙層幕墻。
六、幕墻性能測試
★通常工程必要測試項目(三性測試):
氣密性能檢測
水密性能檢測
抗風壓性能檢測
(GB/T 15227-2007:建筑幕墻氣密、水密、抗風壓性能檢測方法)
有抗震(詞條“抗震”由行業大百科提供)要求工程特殊檢測項目:
平面內變形性能測試
(GB/T 18250-2000:建筑幕墻平面內變形性能檢測方法)
★其他有特殊要求時檢測項目:
熱工性能測試
空氣聲隔聲性能測試
耐撞擊性能測試
防火性能測試
熱循環測試
★特殊材料測試項目
結構膠相容性及粘接性能測試
石材及其掛件物理性能指標測試
鋁材涂裝質量測試
設計方提出的其他測試要求
6.1氣密性能測試

適用標準:GB/T15227-2007:建筑幕墻氣密、水密、抗風壓性能檢測方法
性能分級指標:氣密性
6.1.3.2開啟部分氣密性能分級指標qL應符合下表要求。
建筑幕墻氣密性能分級

6.1.3.3幕墻整體(含開啟部分)氣密性能分級指標qA應符合下表要求。
建筑幕墻整體氣密性能分級


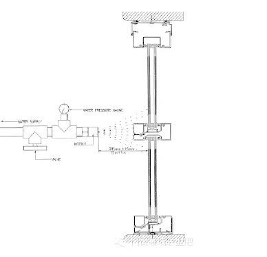
6.2 水密性能測試之一

適用標準:
GB/T 15227-2007:建筑幕墻氣密、水密、抗風壓性能檢測方法
亦稱“靜態水密性測試方法”
性能分級指標:水密性
建筑幕墻水密性能等級


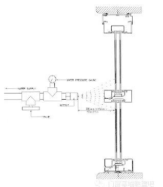
水密性能測試之二

適用標準:
AAMA501.1: Standard Test Method For Water PenetrationOf Windows,Curtain Walls And Doors Using Dynamic Pressure
亦稱“動態水密性測試方法”,對于單元式幕墻、具有外裝飾結構的幕墻系統,建議增加此測試。
水密性能測試之三

適用標準:
GB/T 15227-2007:建筑幕墻氣密、水密、抗風壓性能檢測方法:附錄D
AAMA501.2 -03: Quality Assurance and Diagnostic WaterLeakage Field Check of Installed Storefronts,Curtain Walls, and Sloped Glazing Systems
亦稱“現場淋水測試方法”
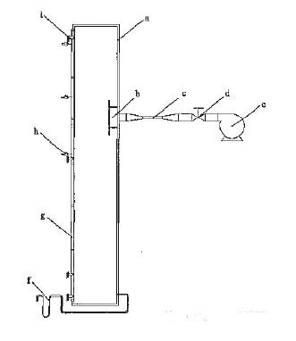
6.3抗風壓性能測試
適用標準:
GB/T 15227-2007:建筑幕墻氣密、水密、抗風壓性能檢測方法。
檢測值:氣壓差、構件變形、有無損壞等。
性能指標分級:抗風壓性能
抗風壓性能分級指標P3應符合本標準
6.5 幕墻熱工性能測試

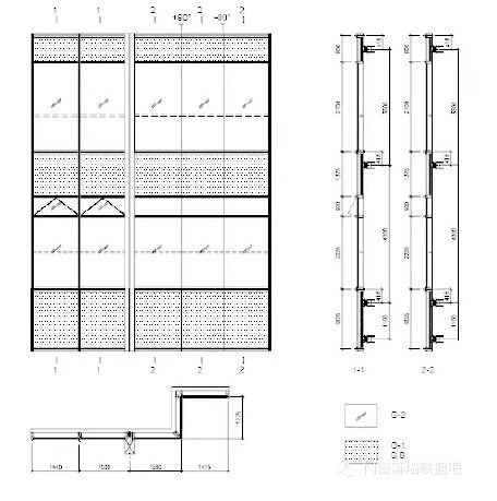
4.6 性能測試樣板

豎向應大于2個層高
橫向應不過不少于3個標準板塊寬度
應包括開啟扇
應包括轉角
應包括所有建筑外裝飾構件
上一頁123456下一頁